Einflankenwälzprüfung

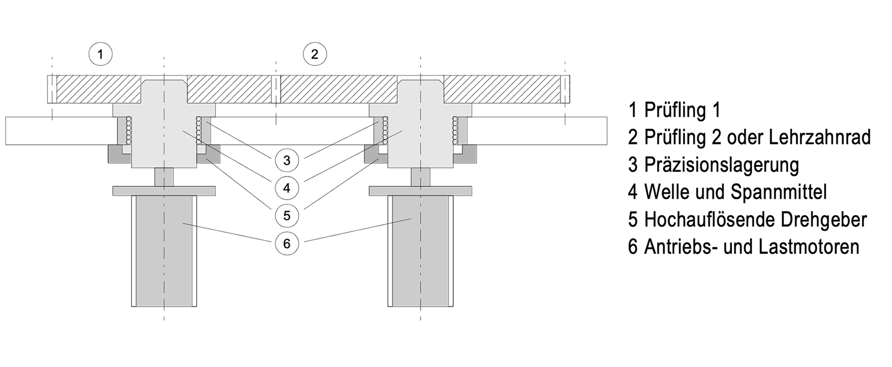
Die Einflankenwälzprüfung wird mit zwei Prüflingen (einem Radsatz) oder mit einem Prüfling gegen ein Lehrzahnrad durchgeführt. Die Verzahnung kämmt dabei bei festem Achsabstand. Dies entspricht dem Sollachsabstand bei der Prü̈fung mit zwei Werkrädern.

Zur Bewertung beider Zahnflanken kann entweder die Drehrichtung der Antriebsachse oder das Lastmoment umgeschaltet werden (Zugrichtung und Schubrichtung). Prüfdrehzahl und das Lastmoment können variiert werden, um so die zur Fehlererkennung günstigsten Betriebsbedingungen herzustellen.

Aus den Daten der beiden Drehgeber berechnet das Auswertesystem neben vielen weit eren Informationen die in der DIN 3960 definierten Kenngrößen zur Einflankenwälzprüfung.

Zusätzlich werden die spektralen Komponenten der Einflankenwälzabweichung berechnet. Hieraus lassen sich direkt Hinweise auf mögliche Fehlerquellen bei der Herstellung der Verzahnung entnehmen. Derartige Fehler sind beispielsweise Rundlauffehler, Ovalität und Dreiecksform, Flanken-Geometriefehler und Oberflächenfehler.

InProQ, Verzahnungsmesstechnik, Geräuschprüfung